
咨詢熱線0755-26993877
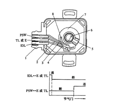
節氣門位置傳感器一方面用于檢測節氣門開度的角度作為發動機負荷的參考信號,另一方面反映節氣門開度變化的速度,從而反映駕駛員的駕駛意圖。對于自動變速器的電子控制系統,節氣門位置傳感器主要用于檢測節氣門開度...

節氣門位置傳感器的目的是確保將正確的空氣和燃料混合物輸送到您的汽車發動機,以使您的車輛發揮最佳性能。它是汽車燃油管理系統的重要組成部分,位于蝶形主軸/軸上。 當此傳感器無法正常工作時,您會遇到明顯的癥...

現代燃料噴射內燃機依靠燃料和氧氣的有效混合物來運行。這是燃油噴射系統的任務-它在頂部有一個節氣門體,包括一些輔助這個過程的組件。節氣門體中最重要的兩個部件是節氣門體位置傳感器(TPS)和節氣門體溫度傳...

氣動閥,通常稱為方向控制閥,可以防止或轉移系統中壓縮空氣或其他氣體的流動。這些閥門用于驅動其他部件,如致動器、夾具、手動工具或其他設備,也用于引導其他閥門。提供各種類型的閥門,所有閥門都具有不同的特性...

電動執行器與其他類型的執行器相比究竟如何?許多人認為氣動執行器更便宜,因此這是他們應用的最佳選擇。在某些情況下,這與事實相去甚遠,電動執行器效率更高。這意味著執行器性能更好,甚至可以在使用時節省資金。...

電動執行器是機器或設備的一部分,它通過按下按鈕將某種形式的能量轉換為機械力來實現運動。種類繁多,但最流行的是使用不可壓縮液體作為能量的液壓類型。與其他選擇相比,電動線性執行器最近獲得了更多的關注,因為...

選擇正確的安裝類型會影響線性執行器的執行方式。以下是直線執行器最常用的安裝類型。 1.U形夾安裝 一種流行的電動直線執行器安裝座使用U形夾和安裝銷。沒有支架或任何其他類型的支撐來停止運動。這使致動器能...

一、氣動直線執行器 氣動執行器和電動執行器之間的主要區別在于源的類型。氣動線性執行器使用壓縮氣體。氣體被泵入氣缸的一端,然后從另一端推出。這個動作向前推動活塞,然后驅動負載。 氣動線性執行器是桿式執行...

使自動化成為可能的一個主要部件是電動執行器。這些機械設備使用旋轉或直線運動將電能轉化為動能。電動執行器與其他類型的執行器一樣工作。唯一的區別是它使用電力作為輸入。電力為電機提供動力,觸發特定組件運動。...

壓縮空氣系統很可能是您設施中每天運行的最昂貴的設備之一。因此,對空氣壓縮機進行定期維護和清潔非常重要。如果您忽視您的設備,您很可能最終會支付昂貴的維修費用。 對空氣壓縮機進行大掃除可能是一個好習慣,就...
